Sony sta depositando vari brevetti che potrebbero aiutarci ad avere una panoramica più chiara su come sarà la sua prossima console o, chissà. addirittura quelle future. Non è detto, infatti, vogliamo essere subito chiari, che tutto ciò che sta progettando Sony vedrà poi effettivamente la luce su PS5.
Ciò che conta però è che l’azienda sta esplorando molte soluzioni per garantire nel prossimo futuro l’accesso a una vera next-gen. The Gamepost ha scoperto un brevetto davvero interessante che mette in luce quanto Sony si voglia imporre nel campo del machine learning.
Questo riguarda l’interfaccia utente e potrebbe aprire una nuova strada all’interazione tra macchina e utente. Partiamo col dire che l’interfaccia utente di PS5 non sembra molto diversa da quella attualmente disponibile su PS4. Il layout XMB è lo stesso, ma i riquadri sono stati riprogettati per visualizzare ulteriori informazioni.
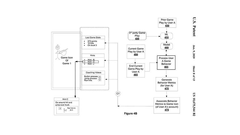
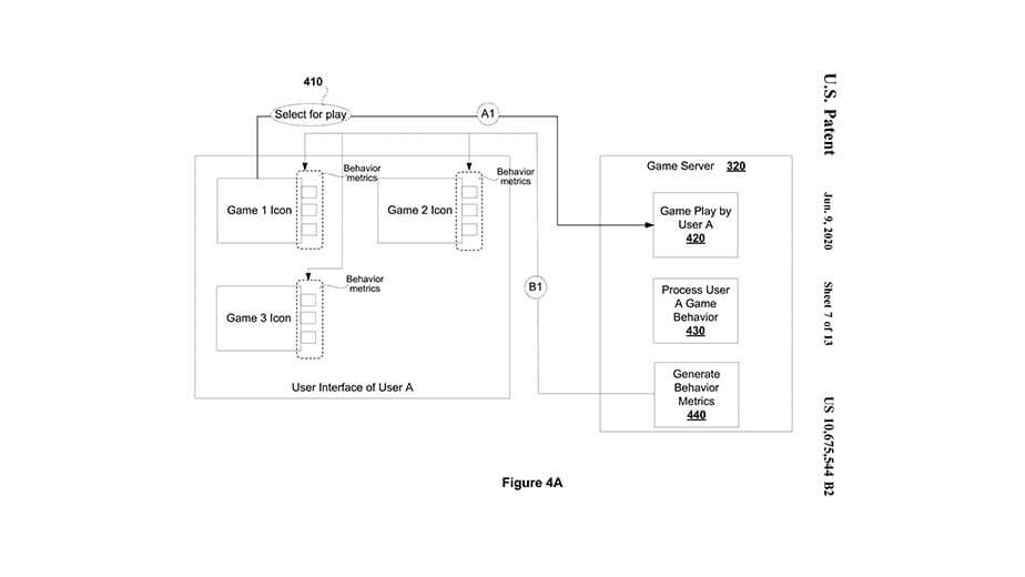
La principale caratteristica è rappresentata dal modo in cui Sony intende utilizzare i dati di tracciamento per informare i giocatori. I documenti del brevetto mostrano che le schede presenti sull’interfaccia potrebbero tracciare il comportamento e le statistiche del giocatore, come il rapporto uccisioni / morti e altre metriche. I dati forniranno informazioni anche sulla posizione raggiunta da un giocatore in un videogioco in modo da offrire suggerimenti su come superare un’area se si rimane bloccati lì per troppo tempo.
Solitamente cosa fa un giocatore – se non riesce a risolvere da solo – che rimane bloccato? Va su YouTube e cerca un walkthrough per capire come superare la zona incriminata. Ebbene, secondo questo brevetto, sarà l’interfaccia utente a fare tutto il lavoro.
Il brevetto prevede un apprendimento automatico della console che attingerà alle registrazioni di gameplay salvate dagli utenti per cercare di aiutare quelli bloccati. In sostanza, il brevetto descrive un sistema che analizza i filmati di gioco catturati da altre persone per decidere se potrebbero effettivamente aiutare un giocatore ad andare avanti. Se l’analisi va a buon fine, questi video verranno proposti sotto forma di suggerimenti.
Stiamo parlando di fantascienza? Le grandi innovazioni sono arrivate quando nessuno ci credeva, d’altronde. Ricordiamo ancora, però, che funzionalità di questo tipo non vengono implementate dall’oggi al domani, quindi non è detto che su PS5 vedremo effettivamente questa feature.
Leggi anche: Tutti i giochi PS4 usciti dopo il 13 luglio saranno compatibili con PS5.



